
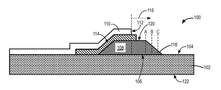
A device may include a first semiconductor region of a first conductivity type having a top surface and being formed of a first material. A device may include a second semiconductor region of a second conductivity type and being formed of a second material different from the first material and positioned over the top surface of the first semiconductor region. A device may include a metal layer, at least a portion of which is disposed over the top surface of the first semiconductor region and at least a portion of which is disposed over the second semiconductor region, the metal layer forming a device terminal and having a terminal edge positioned over the second semiconductor region, wherein a charge density of at least a portion of the second semiconductor region decreases with an increase in a lateral distance from the terminal edge of the metal layer.