
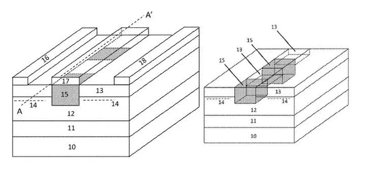
A variety of high electron mobility transistor structures are provided having charge compensation regions that can extend below the gate electrode through the barrier layer and at least partially through the III-V semiconductor layer. The charge compensation regions include a p-type semiconductor or oxide. In some aspects, the charge compensation regions extend vertically through said barrier layer into said channel layer, wherein said charge-compensation regions are doped with p-type dopants and are placed aside the 2DEG channel and do not overlap vertically with the 2DEG channel. In some aspects, at least a portion of the charge compensation regions extend from below the gate electrode to make Ohmic contact with the source electrode. In some aspects, by extending the charge compensation regions from below the gate electrode and closer to the source and drain electrodes, the HEFTs can demonstrate avalanche characteristics. The HEMTs can include any suitable III-V semiconductor, and in particular can include a GaN semiconductor.