
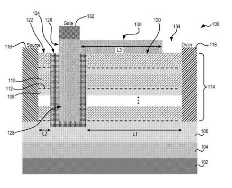
A semiconductor device includes a semiconductor region having at least one two-dimensional carrier channel of a first conductivity type, the first conductivity type being one of a n-type and a p-type conductivity, the at least one two-dimensional channel having a net charge, the semiconductor region including a first semiconductor region coupled with a drain terminal and a second semiconductor region coupled with a source terminal; and a third semiconductor region of a second conductivity type electrically coupled with a gate terminal, having a gate region and a net charge region, the net charge region disposed over the first semiconductor region and having a net charge in a depletion region that is substantially equal to the net charge of the at least one two-dimensional channel in the first semiconductor region when the semiconductor device is in an off-state.