
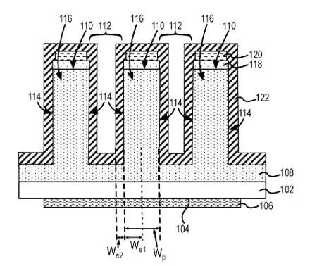
A device may include a substrate of a first conductivity type, the first conductivity type being one of a n-type conductivity and a p-type conductivity, the substrate having a base surface. A device may include a first terminal coupled with the base surface of the substrate, a first semiconductor region disposed over the substrate, the substrate positioned between the first semiconductor region and the first terminal, the first semiconductor region including a top surface, which defines a plurality of trenches having sidewalls, the plurality of trenches separated by a plurality of pillars, the first semiconductor region formed of a first material with the first conductivity type, a second semiconductor region disposed over the sidewalls of the first semiconductor region to form a superjunction with the first semiconductor region, the second semiconductor region formed of a second material different from the first material and having a second conductivity type.