
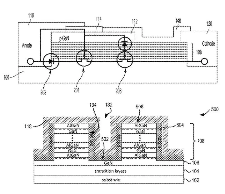
This disclosure provides a diode including a semiconductor region having at least one two-dimensional carrier channel of a first conductivity type. The diode also includes a plurality of sidewalls exposed in the semiconductor region defining at least one trench extending through the at least one two-dimensional carrier channel and a material of a second conductivity type, the second conductivity type being the other of the n-type and the p-type conductivity, disposed on the plurality of sidewalls and in contact with the at least one two-dimensional carrier channel. The diode also includes an anode material in contact with at least a portion of the semiconductor region and in contact with at least a portion of the material of the second conductivity type, and a cathode material in contact with the at least one two-dimensional carrier channel.