
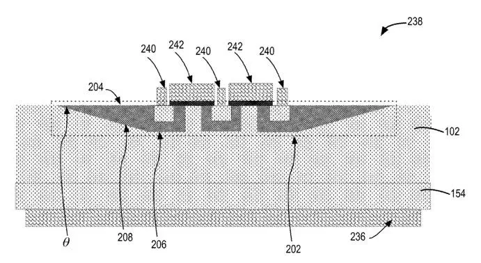
A process for forming a device can include forming a first semiconductor region having a first conductivity type. The process can include depositing a dielectric layer over the first semiconductor region, the dielectric layer having a first etch rate. The process can include forming a first photoresist layer having a second etch rate that is greater than the first etch rate over the dielectric layer and forming a second photoresist layer over the first photoresist layer. The process can include patterning the second photoresist layer to remove a region of the second photoresist, the first photoresist layer being exposed under the region. The process can include etching to form a beveled structure in the dielectric layer. The process can include removing the first photoresist layer and the second photoresist layer and performing ion implantation of the first semiconductor region with dopant species having a second conductivity type.